Location -> Products -> Level -> Level Switch

Type:CX-FLM-UQZ arch culverts float level meter
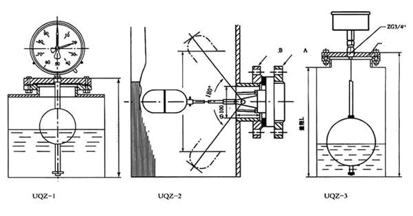
Illustrate:Accuracy :2.5class measured temperature :<100℃ Ambient temperature :-40~+50℃ Installation :side-mounted flange connection
Float level meter
Application :
CX-FLM-UQZ series float level meter is used to display the level of the open or pressure vessel .
This instrument compared with other type meter ,it does not afraid break ,the figure is more clearer ,
especially suit for viscous type oil or hazardous liquid . This instrument does not afraid the vibration ,
it can be installed on mobile containers ,such as tankers and liquefied gas tanker .It does not suitable
for the medium which has strong corrosion with brass ,aluminum ,stainless steel etc .
Main parameter:
Accuracy :2.5class
measured temperature :<100℃
Ambient temperature :-40~+50℃
Installation :side-mounted flange connection

Last:CX-FLS-LY fork level switch Next:CX-ULM-UQK-91 float leve..