Location -> Products -> Flow -> Flowmeter For Liquid

Type: CX-DRFM-UE-F double rotator flow meter
Illustrate: CX-DRFM-UE-F double rotator flow meter applies to low viscosity oil, light oil, heavy oil, crude oil with sand and water, liquid from low viscosity to high viscosity.
CX-DRFM-UE-F Double Rotator Flow Meter
Brief Introduction1.Unique design, precision processing and accurately assembled displacement flowmeter.
2.Playing a role for segmentation, measurement, carry, drainage the tested liquid
3.Increase the structure of the positioning gear and the two rotor in rotation at each other to achieve mutual contacts.
4.Working smoothly, low noise, wear less, accuracy and high viscosity adaptable, able to measure the tiny particles in the liquid , thus difficult to card meters.
5.After the flowmeter chemical nickel processing, with anti-corrosion, anti-wear characteristics,
6.Working with very high performance and keep long time accuracy and stability.
Main Features
1. Max. flow is 2 times larger than normal flowmeter.
2. Long life, high accuracy and reliability.
3. Minimal pressure loss.
4.1000 meters of cable for long distance output. pulse output N=0.1L(a pulse for 1N), for direct connection with computer networking.
5.An explosion of the Ia II CT6(intrinsic safety type); flameproof d II BT6(flameproof); protection IP56.
Working principle
As shown below, the flowmeter through a special helical rotor rotary, direct measurement of liquid flow volume.
Flowmeter on the flow of fluids in the body cavity to complete the measurement. Rotor in a spiral of liquid under the
pressure of rotation, rotor and measurement within cavity formation of the closed space(shadow) rotating once
every eight times from the shadow of the volume. So the basis of the relationship, as long as the measures the
number of rotor rotary, you can calculate the cumulative traffic volume, according to the number per second,
you can measure the instantaneous flow.

Technical data
DN and flow range
DN mm |
Flow range(m3/h) | |||||||||
≤0.3 mpa.s |
0.3~2 mpa.s |
2~5 mpa.s |
5~15 mpa.s |
15~50 mpa.s |
50~400 mpa.s |
400~1000 mpa.s |
1000~1500 mpa.s |
1500~2000 mpa.s |
||
LPG | Gasaline | Coal oil | Light deisel |
A heavy oil |
B heavy oil | C heavy oil | High viscosity liquid | |||
8 | 0.04~0.4 | 0.04~0.4 | 0.04~0.4 | 0.04~0.4 | 0.03~0.3 | 0.03~0.3 | 0.03~0.3 | 0.03~0.3 | ||
15 | 0.25~2.5 | 0.25~2.5 | 0.25~2.5 | 0.03~0.3 | 0.03~0.3 | 0.03~0.3 | 0.03~0.3 | 0.25~2.5 | ||
25 | 0.6~0.6 | 0.6~0.6 | 0.6~0.6 | 0.6~0.6 | 0.6~0.6 | 0.6~0.6 | 0.6~0.6 | 0.5~5 | 0.5~4 | 0.5~3 |
40 | 5~20 | 4.5~20 | 4~20 | 3~20 | 2.5~20 | 2.5~20 | 2.5~20 | 2~13 | 2~12 | 2~10 |
50 | 6~30 | 5~30 | 5~30 | 4~30 | 4~30 | 4~30 | 3~30 | 2.5~25 | 2.5~20 | 2.5~15 |
80 | 30~80 | 20~80 | 15~80 | 12~80 | 10~80 | 8~80 | 6~80 | 5~55 | 5~45 | 5~39 |
100 | 50~180 | 35~180 | 25~180 | 20~250 | 17~150 | 10~250 | 8.5~250 | 8.5~130 | 8.5~110 | 8.5~97 |
150 | 70~260 | 50~260 | 40~260 | 30~260 | 20~340 | 17~340 | 15~340 | 12~190 | 12~160 | 12~140 |
200 | 100~380 | 70~380 | 55~380 | 45~500 | 35~500 | 30~500 | 25~500 | 25~280 | 25~220 | 25~200 |
250 | 200~630 | 140~630 | 110~630 | 90~800 | 70~800 | 55~800 | 45~800 | 45~460 | 45~380 | 45~340 |
300 | 300~980 | 210~980 | 170~980 | 140~1100 | 110~1100 | 90~1100 | 65~1100 | 65~720 | 65~590 | 65~520 |
Note: 1. it’s the flow range based on 0.5% accuracy 2.For 0.2 accuracy, the min. flow.rate is 1/5 of man. Flowrate. For 0.1% accuracy, the min. flow rate is 1/3 of max. flow rate. |
Exterior size
1. Rotator structure

Double rotator
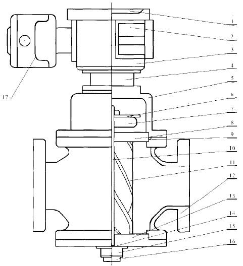
2. Double-rotator transmitter and the overall structure of flowmeter

Double-rotator transmitter and the overall structure of flowmeter
1.panel 2.Battery 3.Second instrument 4. Connection part 5.U-type cover 6.pulse generator
7.Positioning gear 8.Upper cover 9. O ring 10.Axis 11.Rotator 12. Main body 13.upper cover
14.Thrust bearing 15. Adjustment screw 16.bottom plate 17.output case
Type coding way
Model | 1 | 2 | 3 | 4 | 5 | 6 | Explanation |
DN | Counter | Pressure | Character | Output generator | Temperature Working | ||
UE | Double-rotor flowmeter | ||||||
8 15 25 40 50 80 100 150 200 250 300 |
DN 8mm | ||||||
DN 15mm | |||||||
DN 25mm | |||||||
DN 40mm | |||||||
DN 50mm | |||||||
DN 80mm | |||||||
DN 100mm | |||||||
DN 150mm | |||||||
DN 200mm | |||||||
DN 250mm | |||||||
DN 300mm | |||||||
W J E H |
Pulse output, no display | ||||||
Mechanical counter | |||||||
Electronic counter | |||||||
Re-set mechanical counter | |||||||
1.6 2.5 4.0 6.3 |
PN 1.6 Mpa | ||||||
PN 2.5 Mpa | |||||||
PN 4.0 Mpa | |||||||
PN 6.3 Mpa | |||||||
C304 C316 CC304 CC316 |
Rotator 304SS | ||||||
Rotator 316SS | |||||||
Body and rotator 304SS | |||||||
Body, rotator 316SS | |||||||
F I |
Pulse output | ||||||
Current output | |||||||
A B C D |
Working temperature -20℃~+80℃ |
||||||
Working temperature -20℃~+150℃ |
|||||||
Working temperature -20℃~+250℃ |
|||||||
Working temperature -20℃~+350℃ |
Last: CX-DWM digital water meter Next:CX-CMFI coriolis mass flow meter